| Via
Polisen 30, 10016 Montalto Dora - TO - Italy tel. +39 (0)125 650006 (4 linee r.a.) fax +39 (0)125 651505 maruelli@maruelli.com |
||
Maverik cockpit:
1- Lateral view of the standard cockpit made for an acrobatical model.
Vista laterale del cockpit realizzato per un modello acrobatico
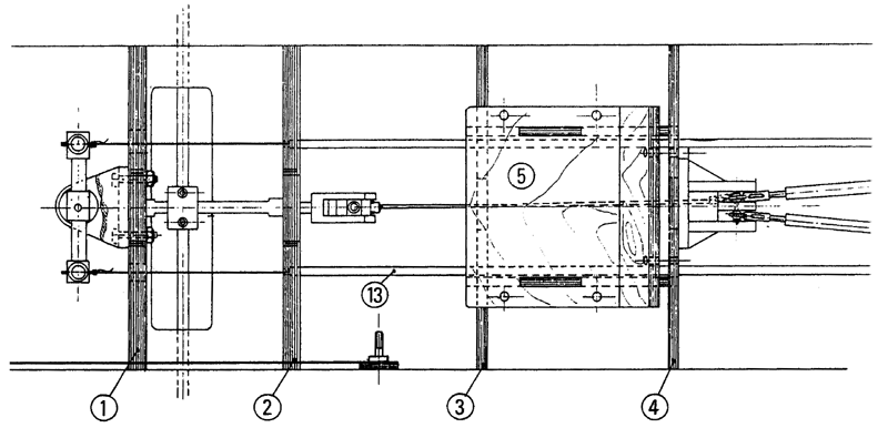
2- Top view of the cockpit for Maverik: the chair and the column support are very simple and just 8 simple plywood plates are required.
Vista superiore della cabina: il sedile ed i supporti per la barra di comando sono molto semplici e richiedono solo 8 semplici ordinate.
3- Frontal view of the cockpit: column, rudder and lever are made in Ergal (aluminum 7075)
Vista frontale del cockpit: la barra di comando, la pedaliera e i leveraggi sono in Ergal.
4- Reference Table:
Tabella di riferimento:
| 1 | Support for rudder and frontal ball bearing 10 mm plywood |
| 2 | Support for rear ball bearing 8 mm plywood |
| 3 | Support for chair (frontal) 5 mm plywood |
| 4 | Support for chair (rear) 4 mm plywood |
| 5 | Chair plate base 3 mm plywood |
| 6 | Chair plate vertical 3 mm plywood |
| 7 | Lateral support (n°2) for chair 4mm plywood |
| 8 | Aluminum angle thickness 3 mm with 2 theraed hole for lock the pilot |
| 9 | Rudder bar with support |
| 10 | Column assembly |
| 11 | Elevator lever assembly |
| 12 | Elevator bottom pushroad with 2 uniball |
| 13 | Bowden (nà2) for rudder |
| 14 | Elevator pipe (n°2) |
| 15 | Pipe to 90° lever for ailleron |
| 16 | Throttle bar with carburator pushroad |